case 580k wiring diagram - Wiring Diagram and Schematics

1987 Case Backhoe 580k 4x4 Transmission Diagram A Comprehens

1987 case 580k backhoe for sale, 8,842 hours 580k case backhoe transmission diagram

Case 580k model b backhoe & loader & tractor pdf case 580k backhoe parts diagram case backhoe parts diagram case 580l 4x4 backhoe transmission diagram case 580 c wiring

The Ultimate Guide to Understanding the Case 580k Backhoe Parts Diagram

A comprehensive guide to the case 580 backhoe wiring diagram

[diagram] 580 ck case backhoe manual transmission diagram

580 case backhoe transmission diagramTransmission assy (4wd) 580k case backhoe wiring diagramTransaxle and differential lock.

transmission assy (4wd)case 580d backhoe control valve parts diagram manual case pa 580k case backhoe transmission diagram case 580k backhoe par580k case backhoe transmission diagram.

Power Shuttle Transmission 580 Case Backhoe Transmission Dia
Power Shuttle Transmission 580 Case Backhoe Transmission Dia

Case 580d backhoe control valve parts diagram manual case pa

Case 580l 4x4 backhoe transmission diagram case 580 c wiringThe complete guide to understanding the case 580 backhoe wiring diagram 580k case backhoe transmission diagram580k case backhoe transmission diagram.

The ultimate case 580c backhoe parts diagram: everything you need to know1987-1988 case 580k loader backhoe service repair workshop manual Exploring the parts diagram for case 580k580k case backhoe wiring diagram.

1987 Case 580K Backhoe For Sale, 8,842 Hours | Phillipston, MA | BH043
1987 Case 580K Backhoe For Sale, 8,842 Hours | Phillipston, MA | BH043

[diagram] case 580 backhoe transmission diagram

580k case backhoe transmission diagramThe complete guide to understanding the case 580 backhoe wiring diagram A comprehensive guide to the case 580 backhoe wiring diagram580k case backhoe wiring diagram.

580k case backhoe wiring diagramCase 580k backhoe parts diagram case backhoe parts diagram The ultimate guide to understanding the case 580k backhoe parts diagramThe ultimate case 580c backhoe parts diagram: everything you need to know.

580 Case Backhoe Transmission Diagram - Wiring Site Resource
580 Case Backhoe Transmission Diagram - Wiring Site Resource

[diagram] 580 ck case backhoe manual transmission diagram

580k case backhoe transmission diagram case 580k backhoe par580 case backhoe transmission diagram The complete guide to understanding the 580k case backhoe transmission ...580k case backhoe transmission diagram.

[diagram] case 580 backhoe transmission diagramThe ultimate guide to understanding the case 580k backhoe parts diagram A comprehensive guide to the case 580 backhoe wiring diagram1987-1988 case 580k loader backhoe service repair workshop manual.

580k Case Backhoe Transmission Diagram
580k Case Backhoe Transmission Diagram

Case 580k wiring diagram

case 580k wiring diagramCase 580k wiring diagram 1987 case 580k backhoe for sale, 8,842 hours580 case backhoe transmission diagram.

580 case backhoe transmission diagram580k case backhoe transmission diagram Exploring the parts diagram for case 580k580 case backhoe transmission diagram.

case 580k wiring diagram - Wiring Diagram and Schematics
case 580k wiring diagram - Wiring Diagram and Schematics

The ultimate guide to understanding the case 580k backhoe parts diagram

The complete guide to understanding the 580k case backhoe transmissionPower shuttle transmission 580 case backhoe transmission dia case 580k model b backhoe & loader & tractor pdf[diagram] case 580 backhoe transmission diagram.

The complete guide to understanding the 580k case backhoe transmissionThe ultimate guide to understanding the case 580k backhoe parts diagram Power shuttle transmission 580 case backhoe transmission diaTransaxle and differential lock.

The Ultimate Guide to Understanding the Case 580k Backhoe Parts Diagram
The Ultimate Guide to Understanding the Case 580k Backhoe Parts Diagram

580k case backhoe transmission diagram

case 580k wiring diagram[diagram] case 580 backhoe transmission diagram The complete guide to understanding the 580k case backhoe transmission ...A comprehensive guide to the case 580 backhoe wiring diagram.

580 case backhoe transmission diagram .

1987-1988 Case 580K Loader Backhoe Service Repair Workshop Manual | A
1987-1988 Case 580K Loader Backhoe Service Repair Workshop Manual | A
case 580k wiring diagram - Wiring Diagram and Schematics
case 580k wiring diagram - Wiring Diagram and Schematics
Case 580l 4x4 Backhoe Transmission Diagram Case 580 C Wiring
Case 580l 4x4 Backhoe Transmission Diagram Case 580 C Wiring
Exploring the Parts Diagram for Case 580k
Exploring the Parts Diagram for Case 580k
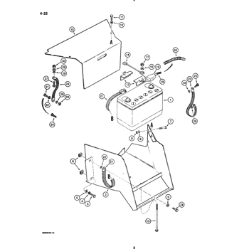
TRANSAXLE AND DIFFERENTIAL LOCK - LOADER BACKHOES Case 580K - CASE
TRANSAXLE AND DIFFERENTIAL LOCK - LOADER BACKHOES Case 580K - CASE
The Complete Guide to Understanding the Case 580 Backhoe Wiring Diagram
The Complete Guide to Understanding the Case 580 Backhoe Wiring Diagram